谷歌申请波导衍射结构母模优化专利 低落XR头显制造本钱
查看引用/信息源请点击:Nweon
在最终加工或接近最终制造步骤时修改波导母模,从而降低成本
(Nweon 2025年06月24日)不同的XR头显设计都需要不同的波导衍射结构母模。然而,开发多个母模增加了制造成本,因为制造它们通常需要大量的资本支出。另外,在使用多个母模来创建多个波导设计的生产线中,可能会出现显著的开销和重复。
为了减少对多个波导母模的需求,可以修改波导,包括通过在衍射光栅沉积涂层来修改衍射光栅。根据修改后的数据,在制造或开发光栅的最后加工步骤中涂覆所述涂层。
通过使用单个波导母模并在最终加工或接近最终制造步骤时进行修改,从而降低制造成本,并通过合并先前的工艺步骤来降低生产线所需的间接生产成本,同时可以减少用于存储产品的库存空间。

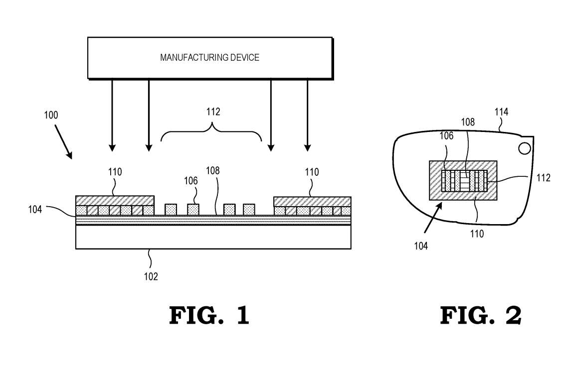
图1示出在处理过程中修改后的波导100。在所描述的实施例中,波导100包括衬底102。在制造过程中,波导100是从母模复制。另外,在所述衬底102设置衍射光栅104。在一个实施例中,光栅104是耦出光栅。在其他实施例中,光栅104是耦入光栅,或者是出瞳扩展器(EPE)光栅。
使用制造装置120将涂层110沉积到光栅104的至少一个区域之上。具体地,所述涂层110通过制造装置沉积在多个衍射特征106的和/或多个凹槽108。接收涂层110的光栅104的衬底根据需要擦除光栅104的衍射效率(DE)的多少而变化。
……(全文 2001 字,剩余 1533 字)
请微信扫码通过小程序阅读完整文章或者登入网站阅读完整文章
会员可直接登入网站阅读
PICO员工可联系免费获取权限
