2025年06月21日好国专利局新申请AR/VR专利摘选
文章相关引用及参考:Nweon
一共更新了62篇专利。
(Nweon 2025年06月21日)近期美国专利及商标局公布了一批全新的AR/VR专利,以下是的整理(详情请点击专利标题),一共62篇。更多专利披露请访问专利板块https://patent.nweon.com/进行检索,你同时可以加入AR/VR专利交流微信群(详见文末)。
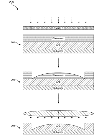
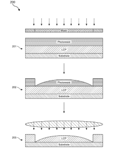
1. 《Meta Patent | Grayscale lithography manufacture of a waveguide display(Meta专利:波导显示器的灰度光刻制造)》

在一个实施例中,灰度光刻和等离子体干法蚀刻可用于基于液晶聚合物(LCP)的波导的设计和制造。发明描述的处理技术可用于在液晶聚合物层中引入自由形式的厚度变化,并实现光栅边界处的主动边缘轮廓控制。其中,光栅包括液晶聚合物层,所述层具有由局部聚合的液晶分子限定的内部光栅图案。
2. 《Meta Patent | Head-wearable device disparity sensing and disparity correction, and systems and methods of use thereof(Meta专利:头部可穿戴设备视差感测和视差校正及其使用系统和方法)》

……(全文 12109 字,剩余 11798 字)
请微信扫码通过小程序阅读完整文章或者登入网站阅读完整文章
会员可直接登入网站阅读
PICO员工可联系免费获取权限
