Meta专利分享XR腕带装备分层天线架构提拔低频通信性能
查看引用/信息源请点击:Nweon
用于诸如智能手表等腕带式设备的分层天线架构
(Nweon 2025年06月23日)随着个人电子产品变得更小、更强大,研发团队正面临着巨大的挑战。例如,诸如智能手表这样的腕带式设备通常非常小,但包括广泛的功能。
通常,这种小型设备同时包括无线天线。智能手表等个人设备的小尺寸在特定低频段的电信标准方面存在问题。另外,这种小尺寸通常会限制其他技术,如全球定位系统(GPS),而扩大设备以改善中低频段传输又会对用户体验产生负面影响。
在一份专利申请中,Meta就介绍了一种用于诸如智能手表等腕带式设备的分层天线架构,以在腕带式设备中最大化天线体积,从而提高小型尺寸计算设备在低频(如LTE低频段)和中频(如GPS频段)的网络性能。

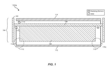
图1示出了具有分层架构的无线天线。例如,如图1所示,无线天线102a包括接地平面104和天线辐射元件110。接地平面104至少包括外壳105、主逻辑板106和电池108。
无线天线102a包括天线辐射元件110,天线辐射元件位于接地平面104下方,并通过体积112与接地平面104电分隔。
……(全文 2508 字,剩余 2135 字)
请微信扫码通过小程序阅读完整文章或者登入网站阅读完整文章
会员可直接登入网站阅读
PICO员工可联系免费获取权限
